美国Mooring Systems公司设计制造的沉积物柱状取样器可被用作重力柱状取样或者活塞柱状取样。简单的设计使其可以有很多可选组件,这套系统可通过选择多种采样管长度和配重,来满足不同条件需要。采样器主体是由镀锌钢制成,飞镖形状的设计能够使保证其稳定垂直的下落。主体部分可以容纳最多6 x 25kg配重,或者最多12 x 25kg配重。透明的内衬管是由高韧性的有机材料(乙酸丁酸纤维素)制成,安装在采样管内部,用于样品储存,并可反复使用。不锈钢闭合器用于取样管在提升过程中,减少样品损失。刀口取样头用于使采样管更容易扎进泥样中。
Ø 对于重力取样管操作,布放线缆的末端连接采样主体的顶端,布放绳缆尽可能快的下放,使采样管直接扎进泥样中。采样管上端有一个阀(右图),可以允许采样管中的水样通过其流出,并在采样管上升过程中形成负压,减少样品掉落。
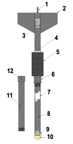
组成:
1、 吊环
2、 稳定翼
3、 单向阀
4、 夹具
5、 铅块
6、 不锈钢连接器
7、 透明内衬管
8、 采样管
9、 不锈钢闭合器
10、取样头
11、延长管
12、延长管连接器

Ø 活塞取样管
活塞取样管需要一个触发装置来操作,触发装置触底之后,会释放取样主体,使其在距地5m的高度自由落体。和重力取样管使用阀不同,活塞取样管的内衬管中安装了一个活塞,并在取样前置于内衬管的底部,这样活塞就阻止了在下放过程中水流的通过。当采样管扎进泥样中后,活塞会被迫与泥样一起提升,活塞与布放线缆相连,并在上升过程中形成真空,减少样品流失。
组成:
1、 吊环
2、 稳定翼
3、 夹具
4、 铅块
5、 活塞阻挡装置
6、 透明内衬管
7、 活塞
8、 采样管
9、 不锈钢闭合器
10、取样头
11、延长管
12、延长管连接器

释放装置:
1、 连接线缆
2、 夹具(右图下)
3、 触发板
4、系绳安全针
5、 压力激活释放位
6、 控制杆
7、 重物绳缆(由用户自己提供)
8、 重物(由用户自己提供)
